![]() |
![]() |
||
![]() |
![]() |
![]() |
![]() |
Limited Bone Height for Upper 2nd Molar Immediate Implant
After immediate implant at the site of #19, pain is getting worse at #15 (Fig.1 CT sagittal section). The patient requests extraction, although the etiology of the pain remains unknown. The tooth #14 has been missing 13 years. The tooth #15 has tilted mesially. If an immediate implant is placed along the long axis of the tooth, it is 14 mm long (Fig.1). When the axis is changed according to the opposing dentition (Fig.2), the implant could be 3 mm shorter.
When the immediate implant is placed in the buccal socket (Fig.3 CT coronal section of the tooth #2), the implant appears to be shallow with possibility of thread exposure (white line: buccal (B) crest and beginning of the threads) unless the implant is pushed into the sinus.
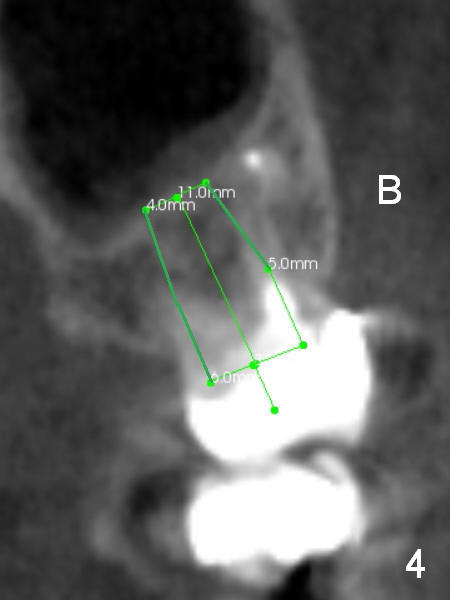
When the implant is placed in the middle of the socket (i.e., septum), it should be shorter (11 mm, Fig.4 coronal section) with sinus lift (bone graft), since the septum height is ~ 2.5 mm (Fig.5 (sagittal section) between arrowheads). The sinus floor dips in between the buccal and palatal roots. Initial osteotomy depth is 2 mm with a trephine bur (smallest). The burs have 2,4,6 mm marks.
If the bone turns out to be soft (CT 200-400 Hounsfield units in the septum), a wider implant (7 vs. 6 mm) can be placed (Fig.6).
Return to Upper Molar Immediate Implant
Xin Wei, DDS, PhD, MS 1st edition 05/16/2015, last revision 05/16/2015