![]() |
![]() |
![]() |
![]() |
![]() |
Tooth Fracture as Related to Class V Defect M
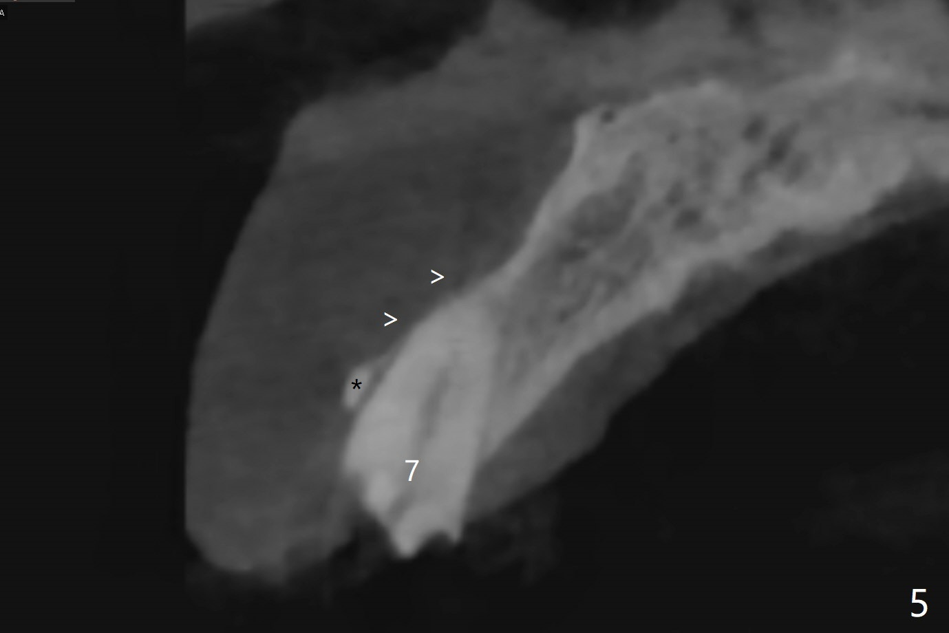
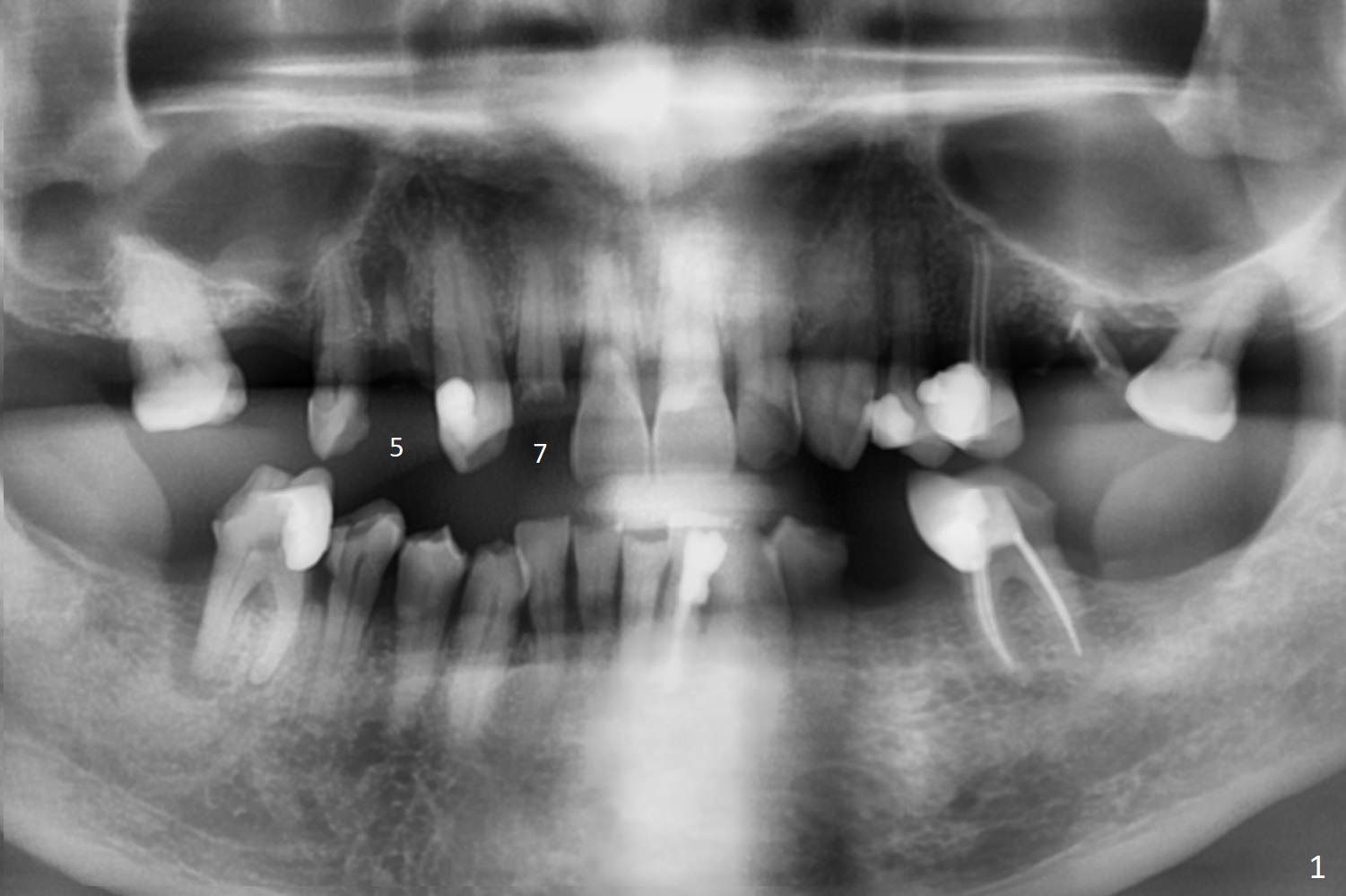
A 79-year-old man, who fractured the tooth #7, has several Class V defects (Fig.1). He seems to be a bruxer. Pay attention to occlusion and determine whether he has anterior deep bite. The neighboring tooth, #6, has apical lesion (Fig.2 <). Root canal therapy has been finished prior to implant placement (Fig.3). Prepare Tatum 1-piece implant in case the trajectory is off. If the crown height is more than 10 mm, prepare IS system. Otherwise use DIO one. If the root turns out to be difficult to extract, be ready for socket shield. Preop CT shows minimal apical perforation at #7 (Fig.4 (3-D image)). The buccal plate is thin (Fig.5 (coronal section) between arrowheads (acute infection may increase the perforation quickly)), while the crest is thick (*).
Return to Upper Incisor Immediate Implant, Trajectory, Metronidazole Xin Wei, DDS, PhD, MS 1st edition 05/02/2019, last revision 03/19/2020